在現代電子系統中,非易失性存儲需求無處不在,從簡單的設備配置到復雜的系統參數存儲。FT24C64A-ESR 作為一款 64K 位(8 位寬)的雙線串行 EEPROM,憑借其低功耗、高可靠性以及靈活的接口設計,成為眾多應用場景的理想選擇。本文將深入解析 FT24C64A-ESR 的技術規格,并提供詳細的應用指南,幫助工程師快速上手并優化設計。
存儲容量:64K 位(8192 字節),組織為 8192 個 8 位字節。
工作電壓:1.8 V 至 5.5 V,適用于多種電源環境。
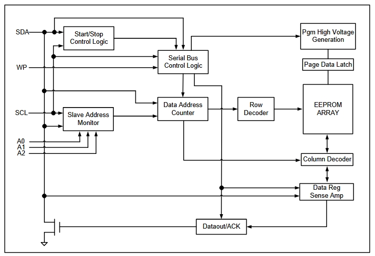
接口類型:標準雙線串行接口(I2C),支持最高 1 MHz(2.5-5 V)和 400 kHz(1.8 V)的通信速率。
寫保護功能:通過 WP 引腳實現硬件級數據保護。
寫入模式:支持 32 字節頁面寫入,允許部分頁面寫操作。
可靠性:100 年數據保持能力,100 萬次擦寫耐久性。
FT24C64A-ESR 提供多種封裝選項,包括 8 引腳 DIP、SOP、MSOP、TSSOP、DFN 和 5 引腳 SOT23、TSOT23。引腳功能如下:

A2, A1, A0:設備地址輸入。
SDA:雙向串行數據線,支持開漏輸出。
SCL:串行時鐘輸入。
WP:寫保護引腳。
VCC:電源。
GND:地。
低功耗待機模式:在未操作時自動進入低功耗待機狀態。
寫入操作:支持字節寫入和頁面寫入,頁面寫入可顯著提高數據傳輸效率。
讀取操作:支持當前地址讀取、順序讀取和隨機讀取,滿足不同應用場景需求。
電源連接:確保 VCC 和 GND 之間連接一個 10 nF 的去耦電容,以減少電源噪聲。
地址設置:根據系統需求,將 A2、A1 和 A0 引腳連接到 VCC 或 GND,以設置設備地址。
寫保護:將 WP 引腳連接到 GND 或 VCC,以啟用或禁用寫保護功能。
通信接口:將 SDA 和 SCL 引腳連接到主控制器的 I2C 接口,并確保 SDA 線通過一個外部上拉電阻連接到 VCC。

在系統上電后,FT24C64A-ESR 會自動進入待機模式。為了確保設備正常工作,必須等待 VCC 穩定后(至少 500 ms)再發送指令。建議在 VCC 上升到穩定值后,通過發送一個簡單的讀取命令來確認設備已準備好。
字節寫入:發送設備地址(寫模式)、目標地址和要寫入的數據字節。設備會在接收到數據后自動執行寫入操作,并在完成后進入待機模式。
頁面寫入:發送設備地址(寫模式)、目標地址和最多 32 個數據字節。設備會自動將數據寫入連續的頁面地址,直到接收到 STOP 條件。
當前地址讀取:發送設備地址(讀模式),設備會從當前地址開始讀取數據。
順序讀取:發送設備地址(讀模式),設備會從當前地址開始連續讀取數據,直到主控制器發送 STOP 條件。
隨機讀取:通過“虛擬寫”操作設置目標地址,然后執行當前地址讀取。
寫入延遲:寫入操作完成后,設備會進入一個最長 5 ms 的自定時寫入周期,在此期間設備不會響應任何指令。
地址溢出:在頁面寫入時,如果超出頁面邊界,地址會自動回繞到頁面起始地址,可能導致數據覆蓋。
電源穩定性:在寫入操作期間,確保 VCC 電壓穩定,避免因電源波動導致寫入失敗或數據損壞。

FT24C64A-ESR 可用于存儲嵌入式系統的啟動參數、設備配置信息和校準數據。其低功耗和高可靠性使其成為理想的非易失性存儲解決方案。
在物聯網設備中,FT24C64A-ESR 可用于記錄傳感器數據、設備狀態和歷史事件。其支持的頁面寫入功能可以顯著提高數據記錄效率。
FT24C64A-ESR 可用于存儲消費電子設備的用戶設置、固件版本信息和系統參數。其小尺寸封裝和低功耗特性使其適合于緊湊型設備。
FT24C64A-ESR 作為一款高性能的 64K 位雙線串行 EEPROM,憑借其靈活的接口設計、低功耗特性和高可靠性,適用于多種應用場景。通過本文提供的技術規格解析和應用指南,工程師可以快速上手并優化設計,確保在實際應用中充分發揮其性能優勢。